Colonel Chrobok’s 1943 ‘Improved Armoured Gun Carriage’

Colonel Chrobok’s 1943 ‘Improved Armoured Gun
Carriage’
Польша
Танк-транспортер
|
масса |
75+ т |
|
вооружение |
6х40-60-мм
орудия 1 миномет огнемет 8 пулеметов |
|
экипаж |
11 чел. + десант |
|
проект |
1941-1943гг., Chrobok |
Основная статья:
Польское танкостроение 1938-1943гг.
Первый проект полковника был появился в
декабре 1940 года, когда он проживал в лагере польской армии в Rothsay,
Scotland. Проект
назывался «Усовершенствования, касающиеся автомобильных артиллерийских лафетов/самодвижущихся
пушечных транспортеров». Целью проекта было размещение в танке тяжелых и легких
боеприпасов, а также контингента пехоты и другого переносного оборудования,
такого как легкие полевые орудия, в одном корпусе.
В передней части этой первой конструкции сосредоточено вооружение с
широким спектром орудий, состоящих из тяжелых бронебойных орудий, тяжелых
пулеметов, огнеметных устройств и зенитных орудий, в зависимости от
необходимости. Машина должна была быть преимущественно бронированной, но задняя
десантная часть машины предусматривалась с бронированными бортами и, в
зависимости от требований, имела либо водонепроницаемое тканевое покрытие, либо
броневую крышу. Внутри заднего десантного отделения располагался ряд
ступенчатых сидений, расположенных продольно для десанта, с местом для хранения
оборудования под ним. Доступ ко всему пространству осуществлялся через большой
задний люк, который мог открываться как вниз, так и наружу. Боковые стенки
также должны были открываться для облегчения погрузки или разгрузки, поскольку
машина также предназначалась для перевозки припасов и раненых на носилках. Полная спецификация этой заявки на патент была завершена к
27 декабря 1941 г. и принята 6 июля 1942 г. под номером патента GB 546,287(A). (Рис.1)


Рис.1 – Оригинальный
дизайн полковника Хробка 1940 года для его ‘Automobile
Gun Carriage’.
В январе 1941 года полковник Хробок представил второй, улучшенный
вариант своей первой конструкции, на этот раз под названием «Улучшенный
бронированный лафет». Самым существенным изменением, внесенным в эту улучшенную
конструкцию, было некоторое изменение расположения вооружения в передней части
машины и добавление небольшой круглой башни в задней части машины, которая
должна была служить зенитным орудием. (Рис.2)


Рис.2 – Второй вариант ‘Automobile Gun Carriage’.
Как пишут, в
1942г. Хробок был занят разработкой противопожарной техники, а в феврале 1943г. был предложен новый проект боевой
бронированной машины. Эта новая конструкция предназначалась для выполнения
наступательных и оборонительных функций и была оснащена, по словам Хробока,
«очень мощным наступательным вооружением». Имея лобовую часть, аналогичную
предыдущим конструкциям, эта конструкция предусматривала, что цилиндрические
орудийные башни (одна или несколько) будут утоплены в корпус и будут иметь
диаметр примерно ⅓ от общей ширины машины. В частности, боковые стенки будут
перекрываться для обеспечения плавучести. Перемещаться по воде амфибия должна
была за счет гусениц. (Рис.3)

Вид спереди.

Рис.3 - Colonel Chrobok’s 1943 ‘Improved Armoured
Gun Carriage’.
Башни были
расположены так, что корпус был ступенчатым, что позволяло каждой из трех
ступеней вести огонь поверх другой. Каждая башня должна была быть оснащена
парой орудий, смонтированных в неподвижных люльках и поднимавшихся или
опускавшихся при помощи электродвигателя. Другое вооружение должно было
состоять из крупнокалиберных и ручных пулеметов, причем шесть крупнокалиберных
пулеметов располагались в наклонных боковых стенках каждой «ступени», а два
ручных пулемета устанавливались в задней части машины. Все пулеметы удерживать
на шаровых шарнирах для «универсального перемещения». «Очень мощное
наступательное вооружение» предусматривало установку самозарядной пушки длиной
3,5 м калибра 40–60 мм в передней и центральной башнях и самозарядной пушки
длиной 4,5 м калибра 40–60 мм в кормовой башне. Также предполагалось разместить
вспомогательное вооружение в виде водородных огнеметов, установленных в боковых
стенках, и «миномета» в полу. Каждая башня должна была быть оснащена экипажем
из двух человек и наблюдателем на каждой палубе, один из которых выполнял
функции командира танка. Они также должны были быть оснащены вентилятором с
электроприводом для вентиляции. (Рис.4)

Рис.4 – Поперечное
сечение одной из башен, показывающее способ поворота башни и подъема/опускания
орудия.
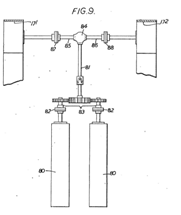
Рулевое управление должно было осуществляться с помощью избирательного
привода гусениц, при этом скорость каждой гусеницы изменялась независимо, что
позволяло танку поворачивать. Топливо должно было подаваться под боевое
отделение по днищу бака под моторным отделением, в котором должно было
размещаться более одного двигателя. (Рис.5)

Рис.5 – Схема
трансмиссии с двумя двигателями.
Предложена
автомобильная компоновка двигателей, ведущих гусеницы, по двухдвигательной
схеме.
Броня машины предполагалась сварной с использованием рациональных углов
для отражения огня противника, при этом в соответствии с ранее разработанными
проектами предусматривалось размещение десанта, 75-мм полевых орудий и
необходимых запасов. (Рис.6)


Рис.6 - Вид в разрезе Colonel Chrobok’s 1943 ‘Improved Armoured Gun Carriage’.
Габариты машины не приводятся, но ясно, что масса
выходила очень приличной. Экипаж оценивают в 6 чел., но, по-моему мнению, одних
только номеров, обслуживающих орудия должно было быть 6 чел., а ещё по одному
наблюдателю на каждую «палубу», водитель и командир – итого 11 чел., плюс
десант. Вооружение: по
два 40-60-мм самозарядных орудия длиной 3,5 м в передней и центральной башнях; спаренные 40-60-мм самозарядные
орудия длиной 4,5 м в кормовой башне;
8 пулеметов (2 в передней части корпуса, по 2 на каждой ступеньке машины
и 2 сзади); водородные огнеметы; напольный миномет. Силовая установка – спарка
двигателей неустановленной мощности.
Этот окончательный проект полковника Хробока, как будто, был одобрен (-
кем?) 10 декабря 1943 года, но впоследствии ни к чему не привел. Историки
обнаружили разработки Хробока через 70 лет в патентных архивах: Patent
GB546287(A) – 1940, Patent GB546349(A) – 1941, Patent GB562003(A) – 1942, Patent GB557908(A) – 1943.
Некоторые авторы называют проекты Хробока проектами гибридной машины -
танк/БТР. С громадной натяжкой, памятуя, что в Первую мировую войну британцы
создавали пехотные танки, способные нести десант на борту, и принимая во
внимание, как пишут некоторые, «зияющую дыру» в истории польского танкостроения,
связанную с оккупацией Польши, рискну отнести третий проект Хробока к типу
эрзац танков – танк-транспортер.